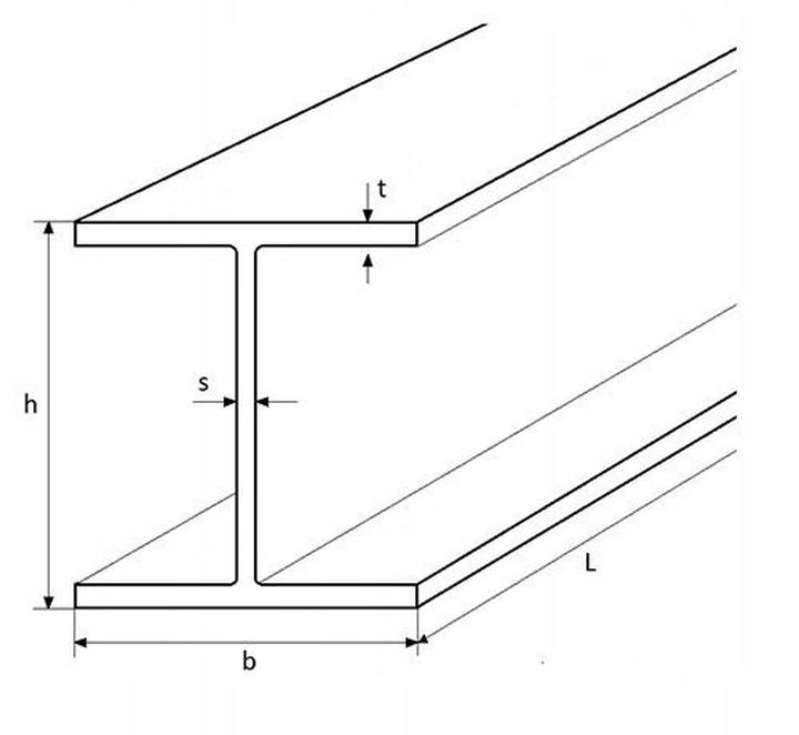
Dwuteowniki to nasi nieoceniani bohaterowie budownictwa, którzy często pozostają niezauważeni, mimo że posiadają niezwykłe supermoce! Dzięki swojemu charakterystycznemu kształtowi w literę „H” lub „I”, dostarczają elementów niezbędnych do podpierania stropów oraz wielu innych konstrukcji. Zanim jednak przypiszemy im odpowiednie role w naszych projektach, warto dowiedzieć się więcej o ich unikalnych właściwościach. Uwierzcie mi, każdy budowlaniec musi być na bieżąco, ponieważ wybór niewłaściwego dwuteownika może wywołać „trzęsienie ziemi” w dosłownym tego słowa znaczeniu.

Wybierając odpowiedni dwuteownik, musimy rozważyć kilka kluczowych czynników. Na początek, zwracamy uwagę na obciążenie. To jak dobieranie rękawic do wielkiego pucharu – za małe rękawice nie spełnią swojej funkcji, a za duże będą po prostu niepraktyczne. Obciążenie stropu wyznacza nośność, jaka jest potrzebna, a to znacząco wpływa na wybór odpowiedniego profilu, na przykład IPE, HEA czy HEB. Dlatego każdy inżynier unikając pułapek, przeprowadza małe “czary-mary” z obliczeniami – to znakomity przykład wyższej szkoły jazdy!
Basen z dwuteowników – różnorodność na rynku
Jak to w każdej rodzinie bywa, także wśród dwuteowników odkryjemy bogactwo różnorodności. Możemy przebierać w profilach: od lekkich dwuteowników IPE, które zaspokoją mniejsze obciążenia, po masywniejsze HEB, idealne do większych wyzwań. Myślisz o mniejszych obciążeniach? IPE 120 sprawdzi się doskonale! Planujesz budowę hali przemysłowej? W takim razie HEB 300 stanie się Twoim najlepszym przyjacielem! Każdy z tych profili adaptuje się do wymagań konstrukcyjnych jak kameleon – im wyższe i szersze półki, tym większa stabilność.
Oto lista kluczowych profili dwuteowników dostępnych na rynku:
- IPE – odpowiednie dla mniejszych obciążeń
- HEA – wszechstronny profil dla różnych zastosowań
- HEB – idealne do dużych obciążeń i konstrukcji przemysłowych
Użycie dwuteowników to nie tylko kwestia estetyki, ale także funkcjonalności. Przemyślane umiejscowienie tych elementów pozytywnie wpływa na stabilność budowli oraz jej wytrzymałość. Pamiętaj, aby dokładnie przemyśleć warunki ich doboru już na etapie projektowania, ponieważ to może uchronić Cię przed nieprzyjemnymi niespodziankami w przyszłości. W końcu, nikt nie chciałby utonąć w morzu problemów budowlanych, a stosownie dobrany dwuteownik to klucz do sukcesu – i solidnego stropu! Zatem, do dzieła, budowlańcy!
Jak obliczyć nośność dwuteownika dla stropu?
Obliczanie nośności dwuteownika dla stropu stanowi nie lada wyzwanie dla wielu inżynierów, ale paniczne myśli można odłożyć na bok. Przy odrobinie humoru i cierpliwości każdy może sprostać temu zadaniu! Na początek przyjrzymy się podstawowym pytaniom – co właściwie oznacza termin „dwuteownik”? W największym skrócie, to stalowy profil w kształcie litery „H”, którego konstrukcja sprawia, że doskonale przenosi obciążenia, a więc stanowi idealne wsparcie dla stropów. Warto pamiętać, że nośność dwuteownika zależy od wielu czynników, w tym obciążeń oraz rozpiętości, a także typu stropu, który zamierzamy podpierć. Przede wszystkim musimy określić, ile rzeczywistych kilogramów nasz nowy przyjaciel będzie dźwigał!
Co wpływa na nośność dwuteownika?

Na początku należy ustalić, jakie obciążenie strop musi wytrzymać. Mowa nie tylko o masie stropu, ale również o dodatkowych obciążeniach. Wyobraźcie sobie, że na waszym stropie ustawicie meble, sprzęty, a może nawet planujecie przenieść na piętro storczyki, które muszą zmieścić się w sypialni! Wszystkie te czynniki wpływają na siłę działającą na dwuteownik. Po określeniu obciążenia czas skupić się na rozpiętości stropu – jak daleko sięga nasz dwuteownik? Im dłużej musi sięgać, tym większa sztywność jest wymagana!
Jak jednak to obliczyć?
Czas na konkretne obliczenia! Nie ma powodu do obaw – kalkulatory na poziomie NASA nie będą potrzebne! Możemy zastosować prosty wzór na moment zginający, którego tajemnica tkwi we wzorze M = q * L² / 8. „A co z tym M i q?” – pytacie. To nic innego jak moment zginający (M) mierzony w jednostkach mocy, natomiast q reprezentuje obciążenie liniowe, które przekłada się na naszą ukochaną rozpiętość (L). Na zakończenie, przeszukujemy nasze materiały z tabelami katalogowymi, gdzie znajdziemy odpowiednie rodzaje dwuteowników oraz ich nośności. I gotowe! Dzięki temu potrafimy zdziałać cuda na budowie!

Wykorzystując odpowiednie metody obliczeń, warto zwrócić uwagę na następujące czynniki:
- Typ obciążenia (stałe, zmienne)
- Rozpiętość stropu
- Właściwości materiału dwuteownika
- Warunki eksploatacyjne (np. temperatura, wilgotność)
- Typ konstrukcji budowlanej
Podsumowując, obliczanie nośności dwuteownika dla stropu wymaga zarówno kreatywności, jak i umiejętności matematycznych, a także odrobiny dobrego humoru. Zawsze warto skonsultować się ze specjalistą, aby uniknąć nieprzyjemnych niespodzianek podczas budowy. A nuż, spotkamy się z inżynierem na budowie i wspólnie stworzymy nową wersję „Mistrza Budowy”? Chociaż… najlepiej niech skoncentruje się na obliczeniach, a my skupimy się na utrzymaniu dobrego humoru!
| Czynnik | Opis |
|---|---|
| Typ obciążenia | Obciążenia stałe i zmienne, które wpływają na nośność dwuteownika. |
| Rozpiętość stropu | Odległość, na jaką dwuteownik musi przenosić obciążenia; im dłużej, tym większa wymagana sztywność. |
| Właściwości materiału dwuteownika | Charakterystyka materiału, z którego wykonany jest dwuteownik, wpływająca na jego nośność. |
| Warunki eksploatacyjne | Warunki takie jak temperatura i wilgotność, które mogą wpływać na właściwości materiału. |
| Typ konstrukcji budowlanej | Rodzaj konstrukcji, w której jest stosowany dwuteownik, co może wpływać na jego parametry nośne. |
Ciekawostką jest to, że dwuteowniki są szeroko wykorzystywane nie tylko w budownictwie, ale także w przemyśle motoryzacyjnym – często stosuje się je w konstrukcjach ram samochodów ze względu na ich dużą wytrzymałość przy jednoczesnym zachowaniu niskiej masy.
Materiały i rodzaje dwuteowników: który wybrać w zależności od zastosowania?
W świecie budownictwa dwuteowniki odgrywają rolę prawdziwych bohaterów, które stają przed niełatwymi zadaniami, takimi jak podpieranie stropów, tworzenie konstrukcji oraz wzmacnianie budynków. Kształt przypominający literę „H” sprawia, że te profile wykazują niezwykłą wydolność, gdy konieczne staje się przenoszenie obciążeń. Niemniej jednak, wybór odpowiedniego dwuteownika to nie taka prosta sprawa; trzeba kierować się kilkoma kluczowymi zasadami. Na przykład, planując podparcie stropu, z pewnością musisz uwzględnić rodzaj budynku, obciążenie oraz rozpiętość. Nie chcesz przecież, aby dwuteownik, który sam wybrałeś, oddał się pod wpływem obciążenia, prawda?
Gdy już wiesz, że potrzebujesz dwuteownika, nadszedł czas na dokładne określenie, który z nich okaże się najlepszy. Na rynku dostępne są różne rodzaje profili, a wśród najpopularniejszych wyróżniają się IPE, HEA oraz HEB. IPE to lekki gracz, doskonały dla mniejszych obciążeń i krótszych rozpiętości, co czyni go idealnym wyborem dla budynków mieszkalnych. Z kolei HEA zdobywa uznanie tam, gdzie wymagana jest większa sztywność, natomiast HEB stanowi prawdziwego tytana, idealnego do konstrukcji przemysłowych, gdzie wytrzymałość ma kluczowe znaczenie!
Czym kierować się przy wyborze dwuteownika?
Wybór dwuteownika to nie tylko kwestia gustu, ale także konieczność zmierzenia się z licznymi parametrami technicznymi! Przede wszystkim zwróć uwagę na obciążenie, które dwuteownik będzie musiał znieść. W przypadku dużych obciążeń najlepiej sprawdzi się HEB, natomiast HEA poradzi sobie przy małych i średnich obciążeniach. Rozpiętość stropu również odgrywa ważną rolę; większa wymaga szerszych profili. Nie zapominaj także o wysokości profilu, gdyż zbyt wysoki dźwigar może utrudnić poruszanie się w pomieszczeniu. Jeśli z kolei zależy ci na aspekcie finansowym, pamiętaj, że materiał oraz typ dwuteownika różnią się cenowo, dlatego warto przemyśleć wybór pod kątem oszczędności!
- Rodzaj obciążenia, jakie ma znieść dwuteownik
- Rozpiętość stropu, która potrzebuje odpowiednich profili
- Wysokość profilu, która może wpływać na użyteczność pomieszczenia
- Aspekty finansowe związane z materiałem i typem dwuteownika
Na koniec, nie zapominaj o wizji konstrukcji. Warto skonsultować się ze specjalistą, który pomoże ci dopasować najlepsze rozwiązanie. Czasami lepiej zainwestować nieco więcej w wytrzymalszy dwuteownik, niż później martwić się o pękające stropy w dalszym etapie budowy. Jak mówi przysłowie, lepiej dmuchać na zimne, a w budownictwie „zimne” oznacza obciążenia oraz rozpiętości, które mogą wpływać na bezpieczeństwo całego budynku! Więc na co czekasz? Wybieraj mądrze, a twoja konstrukcja stanie się solidna jak skała!
Praktyczne wskazówki dotyczące montażu dwuteowników w konstrukcji stropowej
Montaż dwuteowników w konstrukcji stropowej to temat, który wzbudza wiele emocji zarówno wśród fachowców, jak i amatorów budowlanych. Nie można ukrywać, że źle dobrany dwuteownik w stropie przypomina niezbyt miły zapach ryby, który nie przynosi radości gościom. Co gorsza, strop może się pod wpływem obciążeń załamać. Dlatego zanim przystąpisz do montażu, warto zwrócić uwagę na kilka kluczowych aspektów, które zapewnią, że twoja konstrukcja będzie znacznie bardziej stabilna, przypominając najlepszy duet na parkietach disco lat 90-tych.

Na samym początku musisz określić swoje obciążenia. Dokładnie! Zastanów się, ile gości zapraszasz na grilla, jakie meble zamierzasz ustawić, czy może planujesz urządzić domowe biuro na poddaszu, a nie zbudować muzeum skarbów. Obciążenie odgrywa kluczową rolę przy wyborze odpowiedniego dwuteownika. Bez względu na to, czy wybierzesz IPE, HEA czy HEB, ważne jest, abyś wiedział, jakie wymagania ma spełniać. Nie zapomnij także o rozpiętości, ponieważ im dłuższy strop, tym większa sztywność będzie potrzebna. Możesz to porównać do doboru odpowiednich skarpetek – za długie będą wyglądały nieelegancko, a za krótkie mogą być po prostu niewygodne!
Jakie dwuteowniki najlepiej zastosować?
Pewnie zastanawiasz się, które dwuteowniki będą najlepszym wyborem. To bardzo ważne pytanie! Pamiętaj, że każdy typ ma swoje „mocne strony”. IPE wspaniale sprawdzi się w przypadku lekkich stropów, natomiast HEA poradzi sobie z większymi obciążeniami. HEB to z kolei „miś”, który doskonale zniesie duże, dotkliwe siły. Dlatego śmiało eksperymentuj, ale zawsze w rozsądnych granicach! Nie zapominaj również o zabezpieczeniu przed korozją, bo nawet najlepszy dwuteownik nie uchroni się przed rdzą w wilgotnych pomieszczeniach. Kto by chciał, aby jego strop zakończył karierę w młodym wieku?
Na koniec montażu pamiętaj o precyzyjnym wypoziomowaniu oraz zakotwieniu dwuteowników. Możesz to porównać do zakręcenia słoika z ogórkami – jeśli zrobisz to niedbale, wszystkie ogórki w końcu wypadają i psują się, prawda? Dlatego zanim zakończysz swoje budowlane wojaże, upewnij się, że wszystko jest odpowiednio zamocowane. Rozważ także konsultację z inżynierem budownictwa, bo to tak naprawdę „detektyw” w sprawach konstrukcyjnych. Lepiej być pewnym na pewno, niż żałować później, gdy strop zacznie trzeszczeć jak stara kanapa! Działaj dobrze, a twoja konstrukcja z pewnością odwdzięczy się długotrwałą stabilnością!
Poniżej znajdują się kluczowe informacje, które należy wziąć pod uwagę przy wyborze dwuteowników:
- Wybór odpowiedniego typu dwuteownika (IPE, HEA, HEB)
- Określenie obciążeń stropu
- Uwzględnienie długości rozpiętości stropu
- Zabezpieczenie przed korozją
- Precyzyjne wypoziomowanie i zakotwienie konstrukcji
